ART-13 Ops without 811's

                You can operate the ART-13 without 811's (CW only)

         

                               
       This page on the ART-13 contains information and techniques dedicated to the ART-13 transmitter. This web page assumes that the reader has possession of the ART-13 A and B manuals. The Philco "Training Manual is also a valuable source of info.
      Perhaps some of my adaptations or mods offend those that want a "perfect" radio. My goal is to modify the radio to suit my needs or rescue a old chassis. Most of my mods are easy to reverse.
My favorite ART-13 is a ugly $5 chassis found under one of the tables at a hamfest -- I saved it and use it for CW.
   Disclaimer: The photos and technical information on these pages reflect projects that the author has either tested, repaired, modified or fabricated. Be sure and check my simple sketches for errors prior to construction. Most of the projects can be constructed using simple hand tools but the use of tools such as a hand saw and a electric drill can be hazardous. Soldering irons are very hot and often produce temperatures in excess of 700 degrees F.  Soldering radio and electrical circuits produces noxious fumes and can be addictive. Do not inhale. Seek out therapy if necessary. Group sessions are recommended.
 

          

              

               

  Basic plan is substitute a low voltage light bulb in place of the 811 filament.

 

 

            
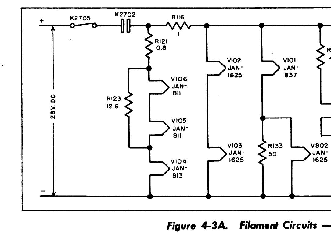
                    Figure 5-1 "Typical Operating Voltages . . ."    

        This 3 tube chain is initially fed with 22 volts.
             813-10volts     811- 6 volts    811-6 volts
       

 

               
                 Click to Enlarge

          The 811 filaments (rated at 6.3V) are in series with the 813 (10V) filament. The ART-13 supply voltage for best operation is 28 volts input to the Dynamotor. The 28VDC output from the Dynamotor chassis will be slightly lower due to internal wiring of the Dynamotor etc.

      R121 and 123 (shown above) reduce the 28 volts slightly. Do not remove R121 or R123.

                       You can't just unplug the 811's as the 813 final amplifier filament is in series.

              Operating the ART-13 without the 811's will result in loss of modulation.

            Here is a link to the ART-13 schematic. Trace out the filament wiring. Note that the 811's are also biased by the filament voltage.

              ART-13 Schematic by Mike Hanz KC4TOS

 

 

                 

 When checking filament voltage go to the pin connections on each tube socket.
     The manuals state that 28 VDC is the "supply" voltage for input to Dynamotor for all measurements.
       

   The small yellow "Battery" square represents a voltage range of approximately 5 volts.
           Your 28 VDC target might be some where on that little square. Play with it.

    Here is a link to a nice PDF file of the ART-13 with corrections by Mike Hanz. Trace out the meter wiring to see the source of the meter's "Battery" voltage input.

                 ART-13 Schematic by KC4TOS

 

 

 

             
                   Plenty of bulbs available. Cheap.

            The 1133 bulb is very close to having the proper resistance and wattage.

 

          

            The 1680 is another choice. Both bulbs are "Close enough for Government Work."

                 

           The 1680 and 1133 use a single contact.
 

                  Bulbtown is a good source for bulbs and their page is easy to navigate.

          https://www.bulbtown.com/

   

               

        The bulbs utilize a BA15 bayonet base. It has a single contact.

 

                            

 

                    

          The BA15 Bayonet base is common. Auto stores often stock them as
         a license plate light assembly.

 

            

 

                    

              4 pin base removed from a dead 811.

                

 

               
                         CLICK to enlarge

               Use your dead tube as a base source. In addition there are plenty of vendors that stock the 4 pin base.
              

 

                 

                 The large diameter pins are the filament connections.

 

                       

         Q. What about the 811 plate cap leads from the modulation transformer?
         A. You need to either remove or insulate the plate cap leads.

         Q. Where are R123 and R121?
         A. They are located right next to the 811 sockets.

        Q. Why not use a piece of resistance wire.
        A. I put that in the "Too Hard to Do Box."

         Q. Do I need the BA15 Bayonet socket?
         A. No you can just solder the bulb.

         Q. Are 811's expensive?
         A. They are on ePay. But go to a hamfest.

          Q. CW Only. Can I also pull the other Audio and MCW chassis?
          A. Yes. You will lose your CW sidetone - but I never use it.

         Q. This whole concept is stupid.
         A. Well I like CW, I had several junk chassis and was short of 811's.        

         Q Do you have any other light bulb tricks for the ART-13?
         A. See link section at the end.

 

                     

               Plenty of room for a BA15 socket inside the tube base.
            

 

                   

       Be sure and Insulate the 811 Tube Cap lead or disconnect.

 

                       

                           Looks a little strange but takes the place of an 811 in the filament string.
        You can test your ART-13 RF output without 811's.

             

                     

           I insulated the leads for testing but later robbed the modulation transformer for another set.
 

                  

          I often just use my low power supply on my CW rig. You only need about 6 and 1/2 amp at 28VDC to run CW and I run 750 volts for plate with this supply. At least you can lift it.

 

               Here is a link to a keying modification for the ART-13.

                                             ART-13 Keying by K4CHE

                  Another use of a light bulb in the ART-13

                          837 Oscillator Filament Network

                         

  

                   
                 Return to top of page

                     Return to K4CHE Index.